乐赢体赢十大真人网

欢迎访问常州一步干燥设备有限公司官网!我们是从事各类干燥设备的资深专业生产厂家!
售后热线:400-822-0082
一步干燥旗下专题网站
当前位置:乐赢体赢十大真人网 > 科研创新 > 技术文献

技术文献

技研动态 科研合作 技术文献 认证证书 专利证书
科研创新
专注干燥设备的研发生产与销售

新型防爆沸腾制粒包衣机的结构要素

信息来源: | 发布日期: 2006-04-14 00:00:00 | 浏览量:1140136

摘要:

常州市一步干燥设备厂 陈红斌 查国才摘 要:本文针对原有沸腾制粒机所暴露的问题,从GMP和相应工艺要求入手,着中讨论了新型防爆沸腾制粒包衣机的结构要素。关键词:沸腾制粒包衣机 结构要素引言近年来沸腾制粒机在制药行业得到广泛应用,特别是制粒与包衣的…

常州市一步干燥设备      陈红斌    查国才

  要:本文针对原有沸腾制粒机所暴露的问题,从GMP和相应工艺要求入手,着中讨论了新型防爆沸腾制粒包衣机的结构要素。

关键词:沸腾制粒包衣机    结构要素

引言

近年来沸腾制粒机在制药行业得到广泛应用,特别是制粒与包衣的应用,但从GMP和固体制剂工艺要求来看:原有的沸腾制粒机暴露出一些急需改进的问题,才能与当前制药工艺要求相吻合。本文就上述问题和新型防爆制粒包衣机结构要求作一分析,目的是为沸腾制粒包衣工艺推向新的高点。

1、原有沸腾制粒设备所不适应新的沸腾制粒包衣工艺要求的问题提出

随着制药行业对制药机械的要求不断提高及GMP要求,原有的FL型沸腾制粒机在生产过程中逐步暴露出一些问题,这些问题已不适用在制粒包衣工艺的应用,其表现在以下几点:

1)设备的防爆性能差,只是采取简单的防爆措施,不能确保操作人员、厂房的安全,在生产中存在一定的隐患;

2)布袋的拆装不方便,虽然采用钢丝绳结构来拆装布袋,但布袋与上筒体之间的连接还需人为地将布袋的底边与上筒体法兰用绳子固定,操作不方便;

3)流化床的流化板多采用垂直的打孔板或席形网板,物料在流化过程中很容易出现流化不均或产生死角等问题,不能确保颗粒中的药品的均匀度;

4)流化板和制粒容器多采用螺栓固定,拆卸不方便,容易造成清洗不干净,产生药品的残留等问题;

5)在制粒过程中颗粒疏松,强度小,堆积密度小,采用顶喷对颗粒进行流化包衣时,包被率低等。而这些存在的问题,使得沸腾制粒机已不能满足制药工业对药机的GMP要求。

针对上述问题,根据多年来生产沸腾制粒机的生产经验并结合国外同类设备的特点,常州市一步干燥设备厂研制开发出了新型防爆制粒包衣机并推向市场。该设备具有制粒、包衣、干燥功能和防爆性能,适用于中、西药、食品、化工等行业的粉体制粒及粉、粒、丸剂的表面涂层包衣。

2、新型防爆沸腾制粒包衣机的结构与原理简述

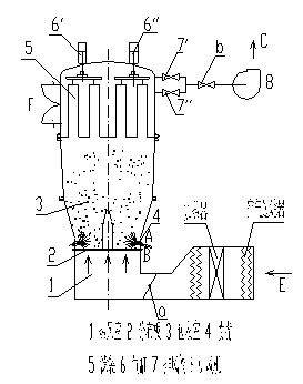
2.1 工作结构与原理:(详见右图)

气流E在引风机8的负压抽吸下,经过滤袋加热后经热风室1,再从驱动盘2进入包衣室3,将放入3中的包衣颗粒在气流的作用呈旋流状上升多维运动。喷枪在包衣室圆周切线方向放置,液体包衣材料由A送入喷嘴4,压缩空气由B送到喷嘴4,包衣液在喷嘴4处被雾化,雾化的包衣液喷向颗粒状物料表面,颗粒表面迅速形成一层薄膜,同时热气流又快速把包衣材料干燥,薄膜的层层叠加,颗粒表面^后形成一层较厚硬壳,当包衣材料与颗粒物料达到规定比例,即可停止包衣系统的工作。

如果把包衣液改为粘合剂,包衣颗粒改为粉体,此过程即是粉体造粒的过程,体现一机多用的功效。

2.2 制粒包衣方式

液体被蠕动泵定量输送到喷枪喷嘴处并被雾化,完成对制粒晶种的粘结附聚成粒或对颗粒物料的表面涂层包衣。

利用热气流的鼓动,对制粒、包衣过程中和结束后进行干燥,保持物料的干燥和流动性。

3、从GMP和固体制剂相应工艺看沸腾制粒包衣机应具备的功能

3.1 制粒、包衣全过程(含粘合剂、包衣液浆配制、液体浆料输送、加料、定量喷雾、干燥和出料等)均应在30万级洁净度下工作并保证无异物落下。制粒、包衣过程(含定量喷雾、干燥等)均应在全封闭状态下,以防止粉尘污染和飞扬。

3.2 其进风应有二至三级过滤,引风机带有消音装置,整个制粒、包衣工艺过程从进风、雾化、排风都处于个封闭状态,达到高效节能效果。除尘布袋过滤器两端压差,能自动测量并可控,使床内保持理想流化状态。

3.3 喷雾压力与粒度、进排风温度及风量、负压、粘合剂包衣液用量及浓度等应满足实际粉粒包衣生产工艺要求,并使包衣粉粒快速干燥、不粘连。

3.4 适合有机溶剂或水溶性薄膜包衣及含有不溶性固体材料的薄膜包衣,又能适合于粉体、颗粒、丸剂等需防潮、掩味药物的包衣。整个包衣液喷雾应有程序控制,包括整套包衣全过程。

3.5 设备设有在位CIP清洗系统。设备应与储浆桶、管路、进排风管等辅助设施配套及相应控制,其它应符合相应GMP要求。

3.6 包衣的外观(表面)、色差、溶出度(崩解时限)等满足中国药典颗粒剂包衣生产工艺要求。

3.7 防爆型制粒包衣机是贯彻一机多能的设计思路,实现制粒、包衣功能的组合。该产品的产生和应用,简化了工艺流程,扩大了使用范围,减少了投资费用,节约了占地面积,避免了物料周转,满足了GMP要求。

3.8 包衣容器边缘在圆周方向切线位置,安装多把喷枪(见结构原理图)将包衣液喷涂在颗粒表面,同时上升的热气流把涂层表面迅速干燥,干燥后的颗粒又进行喷涂,周而复始,直至达到所需要求,由于多把喷枪埋在物料的下面,包材的利用率较高成膜速度快,此设备可用于粉体、微丸的包衣,也可用于颗粒物料、丸剂、片剂的薄膜包衣,在操作过程中,可以在不停机的情况下对喷枪进行检修。

4、新型防爆沸腾制粒包衣机的结构特点

    常州市一步干燥设备厂研发的新型防爆沸腾制粒包衣机也是围绕着上述应具备的功能所展开的,同时,该机结构还具备下述特点:

4.1 布袋的安装形式

设备分左右捕集室,共2个捕集布袋,每个捕集布袋下面边缘部分采用气囊结构与布袋底边固定,当布袋架和气囊结构拉到适当位置,气囊充气、膨胀把布袋的下边边缘与上筒体内壁密封。此结构形式操作方便,操作人员不需爬至高处系布袋。

4.2 主机自动防爆功能

主机上部设有防爆装置,当主机内部产生正压时,防爆门F中的压力预警机构发出气信号,经气电转换使整个系统断电,快速阀门ab迅速关闭,如筒体压力继续升高,迫使防爆门F自动打开,爆炸气体由泄爆通道排出主机,以确保人员和设备的安全。

泄爆试验经国家经贸委天津制药机械检测中心检测,当主机筒体内部正压>0.8kg/c㎡时,泄爆门自动打开。

4.3 新型气体导向结构,使物料流化更均匀。

(详见右图)

气体分布盘由许多叶片组成,叶片与叶片之间留有一定的间隙并形成一定的倾角,热气流由间隙间进入包衣室,叶片间的间隙按圆周分布,热气流进入包衣室后形成绕圆心运动的螺旋上升气流,气流与包衣母核之间产生摩擦,使物料在轴向、圆周方式运动,气流速度沿径向形式线性变化,在运动过程中,产生的微粉上升一定高度后重新回到母核中进行包衣,以提高母核包衣的收得率,制出的颗粒,强度大。

气体分布盘的特点:气流呈螺旋状上升,悬浮力、推动力大,解决了粘性大的物料制粒困难等问题,同时使物料流化均匀,不易产生死角和塌床现象,在制粒过程中不易结块,制成的颗粒堆积比重比其它形式的沸腾制粒机制成的颗粒大,保证了下道工序胶囊填充或压制片剂的质量控制。

该设备可以对己制成的中、西药颗粒、高浓缩丸剂和片剂进行表面涂膜、包衣,对颗粒可以起到防潮、掩味作用,并可防止因长期放置颗粒药品的板结、结块等问题。对高浓缩丸剂和片剂以含有中、西药成份的丸剂可以进行分层、分工序进行包衣,对有效药物起到缓释、控释、靶向释放的目的,延长药物在人体的停留进间,减轻含有刺激性药物对人体的损害,从而提高中、西药的药用价值。

气体分布及工艺要求:(1)气体分布板应根据不同工艺要求,配置不同的辐射倾角、片数;(2)分布板沿圆心均匀分布;(3)分布板可制成可拆式,以确保实现完全清洗。

4.4多把喷枪同时工作,加快制粒、包衣速度。

该设备和用顶喷形式的制粒机作对比试验,在同样的投料量下,本设备比顶喷形式的制粒机在制粒时间上缩短了一半,喷枪被埋在物料内,粘合剂和包衣液充分与物料接触,包衣充分包被率高。

在制粒、包衣过程中主要是检查雾化和干燥两方面的控制的稳定性和实用性,其中雾化是通过蠕动泵、压缩空气、喷枪产生的效果,而蠕动泵、喷枪对包衣液压力和流量产生直接的雾化效应,压缩空气与包衣液要有合适的气、液比,当压缩空气压力小,包衣液雾量大时,颗粒表面瞬间不能迅速干燥而导致颗粒的互相粘接,当雾化压力大包衣液雾化量小时,喷涂在颗粒上的包衣液会迅速变干,在磨擦的过程中形成干粉,从而导致包衣液的浪费和包衣时间的延长。所以在制粒包衣的过程中要不断研究动态过程中雾化的均匀性和干燥的一致性。

4.5 设备总体结构要素

4.5.1采用全封闭结构,使包衣床工作室与外部相应偏离,包衣床内部各表面光滑,无死角和盲区,易观察、易清洁和易方便装拆。主机相应位置设有照明装置和观察窗,易观察流化床内物料运动情况。其所有管道应标明物料走向和名称。此外,底部的^低位设有易排净水管路,结构上无死角,无滞留污物区。

4.5.2 设立独立的进热风系统,热风需经初、中二级过滤,提供热风可达30万级洁净度(也可根据工艺要求按10万级配置,热风经初、中、亚高效三级过滤),其中、亚高效过滤段应有压差计,可通过压差计显示可判断过滤器的使用情况。同时,排风机采用变频调速,以控制风量。

4.5.3 加热系统采用蒸汽加热,温度检测可采用薄膜反馈阀控制,温度控制精度±2

4.5.4 设备电器部分应有防爆措施,风机防爆,观察灯防爆。

4.5.5 连锁要素

1)排风机不工作时,加热系统不能打开。

2)当发生下列情况时应报警并采取相应措施。

a.  运行时,床内负压超过设定值。

b.  压缩空气气压不足时,应报警并停机。

c.电机过载时,应报警并停机。

5、小结

以上是从GMP和固体制剂相应工艺要求出发,对新型防爆制粒包衣机结构的阐述,也是对此类设备制造的一个准绳。围绕着这些结构要素才能制造出既节能、可靠,又安全实用的产品。常州市一步干燥设备厂所生产的新型防爆制粒包衣机已在广东顺锋药业有限公司、上海化工研究院、广东智特奇生物科技有限公司及安徽济仁药业等多家单位使用,得到厂家的好评及认可,在实践中得到了许多宝贵的经验。

本文所阐述的新型防爆沸腾制粒包衣机的结构的探索,只是起抛砖引玉的目的,设备有待进一步的提高,有待于我国的沸腾制粒包衣干燥机踏上一个新的台阶。

参考文献:

1、田耀华,制药装备符合GMP要求的设计和造型要求,中国制药装备行业协会,2003

2、常州市一步干燥设备厂防爆沸腾制粒包衣干燥机产品使用说明书

作著:陈红斌,常州市一步干燥设备厂,邮编:213116

Copyright 2022 常州一步干燥设备有限公司 版权声明 技术支持:
Copyright 2022 常州一步干燥
技术支持:
Top