乐赢体赢十大真人网

欢迎访问常州一步干燥设备有限公司官网!我们是从事各类干燥设备的资深专业生产厂家!
售后热线:400-822-0082
一步干燥旗下专题网站
当前位置:乐赢体赢十大真人网 > 科研创新 > 技术文献

技术文献

技研动态 科研合作 技术文献 认证证书 专利证书
科研创新
专注干燥设备的研发生产与销售

沸腾干燥设备的防爆安全性浅析

信息来源: | 发布日期: 2006-03-28 00:00:00 | 浏览量:1140138

摘要:

查国才(常州市一步干燥设备厂,213116)摘 要:对粉体沸腾所伴有静电和粉尘爆炸的二个问题作理论探讨,从而阐明了沸腾干燥设备防爆安全的重要性,同时插入此方面在此类设备的运用。关键词:沸腾干燥设备,静电,粉尘爆炸,防爆安全 对沸腾干燥、沸腾制粒等沸腾干燥设备…

 

查国才

(常州市一步干燥设备厂,213116

  要:对粉体沸腾所伴有静电和粉尘爆炸的二个问题作理论探讨,从而阐明了沸腾干燥设备防爆安全的重要性,同时插入此方面在此类设备的运用。

关键词:沸腾干燥设备,静电,粉尘爆炸,防爆安全

 

对沸腾干燥、沸腾制粒等沸腾干燥设备来说,基本都是以流化床工作原理为基础的,其物料干燥过程的基础就是粉体的沸腾。同时,在排风作用下,容器内细微粉体经捕集袋过滤后排向室外,其捕集的过程就有大量的超细粉的产生,不管是在流态沸腾还是在捕集运行中,沸腾干燥的整个过程均伴有超细的粉体运动。然而,粉体运动存在的过程常伴有静电和粉尘爆炸的二个问题,在某些因素引导下会引起爆炸现象。目前国内在处理此类问题时,认为只要安置防爆电机就可行了,实属考虑欠妥。本文从粉体沸腾的静电和粉尘爆炸问题作理论的探讨,针对沸腾干燥设备的防爆安全性提出自己的观点,目的是为了此类设备制造和应用得更完整、更可靠和更安全。

 

1.沸腾干燥设备中粉体的不安全因素浅析

1.1沸腾干燥设备粉体沸腾中静电产生的因素探讨

物料在沸腾干燥设备沸腾干过程中,由于干燥气体与物料颗粒表面产生剧烈的摩擦,干燥固体粒子之间也会产生剧烈的碰撞与摩擦,同时固体粒子还与筒体壁面、捕集袋及管路壁面发生剧烈的碰撞与摩擦,使得固体粒子表面带有大量的静电;另一方面,随着固体粒子的不断细化,产生了大量的新生表面,原粒子的表面电荷平衡状态被破坏,使新生粒子表面带上大量电荷。由于聚集、粘附管壁等原因,一旦当整机接地状态不良时,可使积累的静电电荷形成相当高的电压,其在一定条件下会导致静电释放产生的电火花。如果被干燥物料是易燃易爆物,这种静电火花极易引起干燥物料的突然燃烧或爆炸。

文献研究认为“静电^高处在于捕集袋内”,这是由于风机运行抽去大量容器内细小粉尘,这样在捕集袋内大量积累带电粉尘。而产生火花放电的^危险点可认为在捕集袋、分离小管道内。

 

1.2沸腾干燥设备中粉尘爆炸产生的因素探讨

粉尘爆炸的定义为悬浮于空气中的粉尘颗粒与空气中的氧气充分接触,在特定条件下瞬时完成氧化反应,反应中放出大量热,从而产生高温、高压的现象。一般来说,可燃固体在空气中燃烧时会释放出能量,并产生大量的气体,而释放出能量的快慢既燃烧速度的大小在固体(粉尘)暴露在空气中的面积有关。因此,对于同一种固体物质的粉体,其粒度越小,比面积越大,燃烧扩散就越快。若固体的粒度很细,以至可悬浮起来,一旦有点火源使之引燃,则可在极短的时间内释放出大量的能量,这些能量来不及散逸到周围的环境中去,致使该空间内气体受到加热并^膨胀,而另一方面粉体燃烧时产生大量的气体,会使体系形成局部高压,以至产生爆炸及传播。

文献认为,任何粉尘爆炸要具备三个要素,即①点火源;②可燃细粉尘;③粉尘浮悬于空气中,形成在爆炸浓度范围内的粉尘云。其中,三个要素同时存在才会发出爆炸,因此只要消除其中一个要素,就可有效防止粉尘爆炸。

 

1.3沸腾干燥设备中粉体不安全因素的探讨

由于不管是在流态沸腾还是在捕集运行中,物料在沸腾干燥设备沸腾极易产生大量粉尘,粉尘沸腾极易造成上述的静电火花,即可能造成点火源要素。对于“粉尘云”而言,正如文献所述的“可燃物粉体颗粒大于400μm时,所形成的粉尘云不再具有可爆性。”而当“粉体颗粒度在10μm以下时,则具有较大的危险性”,对沸腾干燥设备的捕集袋与排出管道之间的粉体粒度极细的情况下,极有可能上述的“粉尘云”。故对一般物料就极有可能存在着粉尘爆炸的因素,倘如物料中含有可燃细粉组分的话,就意味着具备粉尘爆炸的三个要素,粉尘爆炸的可能性极大。

如果只在沸腾干燥设备中设有防爆电机的话,只是基础上防止“点火源”,其也是此类设备所必须配置的。上述可知,静电和粉尘爆炸是此类设备防爆安全的关键所在,其常被人们所忘却,而药品生产的实际是确保生产设备的安全、可靠和符合相应工艺要求。人们不能只凭“过去没有发生此类事故,对此不必太认真”的概念去生产制造此类设备,应科学性和安全性去考虑。

 

2.沸腾干燥设备中粉体安全的预防措施

    对沸腾干燥设备中粉体沸腾的所引起安全隐患,有文献对粉体易产生此二类隐患的预防作了一定阐述,作为沸腾干燥设备可作如下的借鉴。

 

2.1沸腾干燥设备防静电的措施

对沸腾干燥设备中粉体沸腾防止静电可借鉴的措施如下:

1)捕集袋采用防静电纤维材料制成,及时消除进入袋中的粉体上的静电,避免粉体聚集成块脱落时产生的剥离起电。

2)采用导体材料作送风管道及各连接部件的连接件,并将整个系统仔细接电,使粉体上的静电能及时地导走。

3)其它方法,如增大管道直径、减少弯头、定期清灰和出料、操作工人穿戴防静电服操作等,对抑制、减少和消除粉体沸腾过程中的静电也是有效的。

 

2.2沸腾干燥设备防粉尘爆炸的措施

对沸腾干燥设备中粉体沸腾防止防粉尘爆炸可借鉴的措施如下:

1)清除点火源,对于可能产生火源的设备和装置应安装有抑爆系统,在除尘或滤尘设备和管道中设置防爆膜或泄压阀。

2)经常清除管道和捕集袋内的粉尘,不得有粉尘堆积。

3)电器设备要采用防爆装置,如防爆电机、加装地线等。

4)厂房设计要符合预防粉尘爆炸的要求,按抗爆设计,并要有足够的防爆泄压面积。

 

3.防爆安全性在本公司沸腾干燥设备的应用

针对国内有些沸腾干燥设备防爆意识不完善性,只是采取简单的防爆措施,不能确保操作人员、厂房的安全,在生产中存在一定的隐患。常固定在“过去没有发生此类事故,对此不必太认真”的概念中去制造设备,随着人们对安全意识的加强及日后干燥物料组分的复杂话,此类设备的防爆要求已提到急切的等级。故常州市一步干燥设备厂根据多年来生产沸腾制粒机的生产经验并结合国外同类设备的特点,特别是沸腾干燥设备在结构上采取了必要的防止措施。现以本公司研发的防爆沸腾干燥设备之一为例,说明防爆结构的应用。

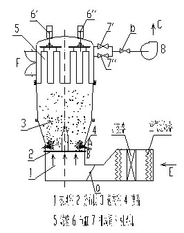
新型防爆制粒包衣机如图所示,其进风有二至三级过滤,引风机带有消音装置,整个制粒、包衣工艺过程从进风、雾化、排风都处于个封闭状态,达到高效节能效果。除捕集袋采用防静电纤维材料外,防尘布袋过滤器的两端压差能自动测量并可控,使床内保持理想流化状态。其中,设备分左右捕集室,共2个捕集布袋,每个捕集布袋下面边缘部分采用气囊结构与布袋底边固定,当布袋架和

气囊结构拉到适当位置,气囊充气、膨胀把布袋的下边边缘与上筒体内壁密封。此结构形式操作方便,操作人员不需爬至高处装拆布袋。

主机上部设有防爆装置,当主机内部产生正压时,防爆门F中的压力预警机构发出气信号,经气电转换使整个系统断电,快速阀门ab迅速关闭,如筒体压力继续升高,迫使防爆门F自动打开,爆炸气体由泄爆通道排出主机,以确保人员和设备的安全。泄爆试验经国家经贸委天津制药机械检测中心的检测,当主机筒体内部正压>0.8kg/cm2时,泄爆门自动打开。

此外,设备电器部分应有防爆措施,风机防爆,观察灯防爆。另在使用说明书和电气安装方面都强调了安全接地等安装要求,这些都与设备使用厂的总接地设施有关。

具备上述结构的防爆制粒包衣机已推向市场,该设备具有制粒、包衣、干燥功能和防爆性能,适用于中、西药、食品、化工等行业的粉体制粒及粉、粒、丸剂的表面涂层包衣。

 

4.小结

以上对粉体沸腾所伴有静电和粉尘爆炸的二个问题作理论探讨,从而重申了沸腾干燥设备的防爆安全重要性。同时,对新型防爆制粒包衣机结构的阐述,也是对此类设备制造的一个准绳,围绕着这些结构要素才能制造出既节能、可靠,又安全实用的产品。常州市一步干燥设备厂所生产的新型防爆制粒包衣机已在广东顺锋药业有限公司、上海化工研究院、广东智特奇生物科技有限公司及安徽济仁药业等多家单位使用,得到厂家的好评及认可,在实践中得到了许多宝贵的经验。

本文所阐述的新型防爆沸腾制粒包衣机的结构的探索,只是起抛砖引玉的目的,设备有待进一步的提高,有待于我国的沸腾制粒包衣干燥机踏上一个新的台阶。

 

查国才(1952_),江苏常州人,常州市一步干燥设备厂总经理,工程师,主力研究:沸腾干燥设备及其它固体制剂设备的技术及制造

Copyright 2022 常州一步干燥设备有限公司 版权声明 技术支持:
Copyright 2022 常州一步干燥
技术支持:
Top